E-mailE-mail: sales@tecovalve.com MobileMobile: +86-18303691186

If you have any questions, please contact us.

Get in touch
You are here:Home / Rubber Joint
Rubber Joint with Carbon Steel Flange

Category: Rubber Joint

Rubber Joint with Carbon Steel Flange

Working pressure :PN16 Working temperature:0~110°C Nominal size:DN 32-600 End connection:Double Flange Design standard:DIN3352
Introduction

Rubber Joint with Carbon Steel Flange Specifications

Working pressure :PN16

Working temperature:0~110°C

Nominal size:DN 32-600

End connection:Double Flange

Design standard:DIN3352

Face to face:Manufacture’s standard

Flange drilling:DIN EN1092-2

Inspection and test:DIN EN12266-1

Body material:EPDM, NBR

Flange material:Carbon steel, stainless steel

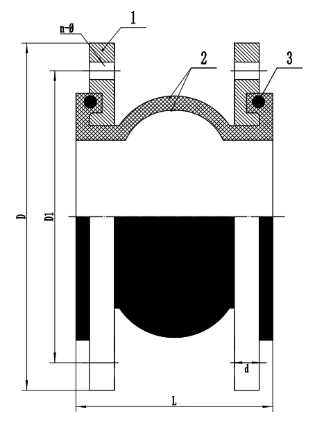
Technical Drawing


Dimensions

Technical Parameters PN16

DN

L

D

D1

n-Φ

d

32

95

140

100

4-Φ18

13

40

95

150

110

4-Φ18

14

50

105

165

125

4-Φ18

16

65

115

185

145

4-Φ18

16

85

135

200

160

8-Φ18

18

100

150

220

180

8-Φ18

19

125

165

250

210

8-Φ18

20

150

180

285

240

8-Φ22

21

200

210

340

295

12-Φ22

23

250

230

405

355

12-Φ26

25

300

245

460

410

12-Φ26

25


Related products